Navigation
Detail
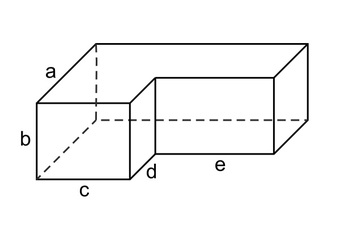
Zusammengesetzter Körper
Urheber:
CJU, CC0
Bildnummer:
P11765
Auflösung:
600x399
Format:
PNG
Quelle:
https://www.schulportal-thueringen.de/pixiothek/detail?tspi=P11765
Kurzbeschreibung:
Das Bild gehört zur Serie "Geometrie Körper". Es zeigt einen aus zwei Quadern zusammengesetzten Körper. Bei Vorgabe von Maßangaben für die bezeichneten Seiten kann das Gesamtvolumen berechnet werden. Das Bild ist unter CC0 lizenziert und kann somit frei verwendet werden.
Verwandte Bilder (Auswahl)
Zusammengesetzter Körper
(500x400)
Quader mit zwei Bohrungen
(800x400)
Zusammengesetzter Körper
(500x400)
Zusammengesetzter Körper
(600x400)
Zusammengesetzter Körper
(500x400)
Quader
(1250x850)
Quader mit Bohrung
(800x450)
Zusammengesetzter Körper
(600x400)
Quader mit Bohrung
(800x450)
Zusammengesetzter Körper
(600x400)
Verwandte Medien (Auswahl)
Schnipselbilder
(öffentlich) Materialsam...
Online-Medium
(2018)
Würfelblätter & Würfelspiele
(öffentlich) Materialsam...
Online-Medium
(2018)
Gedichte, Reime und Lieder
(öffentlich) Materialsam...
Online-Medium
(2018)
Schwungübungen
(öffentlich) Materialsam...
Online-Medium
(2018)